Hiện nay, trên thị trường sử dụng van 1 chiều có 3 dạng :
1, Van một chiều dạng cửa xoay:

Điểm đặc trưng của van một chiều dạng cửa xoay đó là trục của mặt đế đỡ luôn trùng với trục đường ống dẫn chất lỏng-khí. Khi không có dòng chất lỏng-khí tới van, mặt đế đỡ được đóng kín bởi cửa xoay. Khi có dòng chất lỏng-khí tới van, cửa xoay quay quanh trục tạo khe hở cho phép chất lỏng-khí đi qua van. Khi ngắt dòng qua van cửa xoay quay trở về vị trí đóng nhờ khối lượng của chính nó. Ở dạng van nằm ngang, trục quay của cửa xoay được thiết kế cao hơn so với trục đường ống, để đảm bảo cửa sập quay về vị trí đóng khi không có dòng . Tại thời điểm ngắt dòng qua van, cửa xoay từ vị trí mở quay về vị trí đóng, với những van có kích thước lớn, có thể tạo ra va đập thủy lực giữa cửa xoay và mặt đế đỡ. Để khắc phục sự cố đó người ta phân 2 trường hợp:
– Không cần khắc phục: Là khi đường kính cửa sập nhỏ hơn 400mm, khi đó va đập không gây ảnh hưởng nghiêm trọng tới khả năng làm việc của van và hệ thống.
– Cần khắc phục: với những van một chiều ở thiết bị chuyên dụng cần gia công phần va chạm của cửa sập đủ mềm và nhẵn. Gắn các thiết bị giảm chấn, tay đòn lên cửa xoay. Ưu điểm cửa loại van này so với các loại van nước một chiều khác là có thể đảm bảo khả năng làm việc với đường kính ống dẫn lớn, chất lỏng thô ( nhiều tạp chất, chưa được lọc kỹ ).
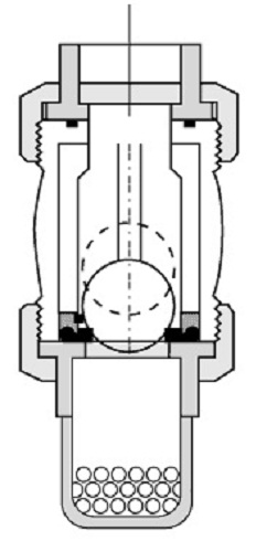
2, Van một chiều dạng trượt

So với các dạng van một chiều khác, van một chiều dạng trượt có cấu trúc đơn giản hơn nhiều. Nhờ cấu trúc đơn giản van một chiều dạng trượt đảm bảo độ tin cậy khi làm việc, nhưng cũng vì thế mà van một chiều dạng trượt dễ bị tắc nếu chất lỏng cần không được lọc kỹ.
Về mặt cấu trúc van một chiều dạng trượt luôn đảm bảo trục đường ống dẫn vuông góc với trục của mặt đế đỡ. Thường thì phần tử trượt nằm trên đĩa đỡ nhờ chính khối lượng của nó, nhưng như vậy luôn phải đảm bảo van được lắp đặt nằm ngang. Để đảm bảo van một chiều dạng trượt có thể lắp trên đoạn ống nằm đứng, người ta sử dụng lò xo làm phần tử hỗ trợ kẹp chặt. Một phương án khác có thể sử đụng là thay đổi cấu trúc van: van một chiều bi trượt. Loại van này chỉ được sử dụng ở đường ống nhỏ.

3, Van một chiều dạng bích
Van một chiều dạng bích đem lại hiệu quả cao về mặt kỹ thuật với ưu điểm chính làm giảm chiều dài lắp van và chi phí lắp ráp.
Van một chiều dạng bích có 2 loại: Đĩa bích lò xo, cửa đôi.
Sự khác biệt cơ bản của Van một chiều dạng bích với các van một chiều khác là không sử dụng các mặt bích để nối van với đường ống dẫn. Nhờ đó mà khối lượng Van giảm 5 lần, và độ dài lắp ráp van giảm 6-8 lần so với các van một chiều khác.
Phần tử làm việc của van dưới tác dụng của dòng chất lỏng-khí di chuyển dọc theo hướng chảy và tạo ra khe hở cho phép dòng chất lỏng qua van. Van dạng bích có thể lắp đặt theo cả phương ngang và phương đứng.
– Đĩa bích lò xo: Nguyên lý hoạt động tương tự với nguyên lý hoạt hoạt động của Van 1 chiều bi trượt. Sử dụng đĩa bích lò xo nhằm mục đích tiết kiệm chiều dài lắp van, và khối lượng van. Kích thước đĩa bích lò xo 15-200mm.


– Dạng cửa đôi ( van một chiều bướm ): Kích thước 50-700mm. Sử dụng van 1 chiều dạng cửa đôi để ngăn ngừa va chạm thủy lực.
